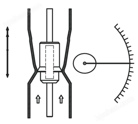
金属管浮子流量计水平连接流量监测,金属管浮子流量计利用流体的动力作用,使浮子在垂直安装的测量管中 顺流向上移动,浮子的位移量与流量的大小成比例。通过磁 传递系统,以不接触方式,将浮子位移量传给指示器直接指 示流量的大小。
金属管浮子流量计水平连接流量监测,在指示器内安装符合HART@通讯协议的流量计智能卡,用 户就能够通过PC机,利用HART@通讯软件进行管理和调整运行过程中HART@的仪表和监测过程变量。 流量计结构简单,维修方便,工作可靠,适用性广, 可用来测量液体、气体和蒸汽的流量。
金属管浮子流量计水平连接流量监测,在浮子内部,嵌有一个高性能磁钢,这样就会在浮 子周围产生磁场。当流体的流量趋于稳定,浮子处于动平状态时,其周围的磁场分布也趋于稳定。 指示器内的流量计智能卡上,有一对高性能磁传感器-霍 尔元件,它们能准确地测量其周围磁场的变化,以毫伏值 (mV)的形式与浮子的位置相对应。流体的流量值、浮子的 位置、毫伏值三者一一对应。 最后通过流量计智能卡将毫伏值转换成一个标准的 4-20mA电流信号(两线制)。
|
仪表型号 |
SHF |
|
|
主体材质 |
304S408,316L,Ti,其它按用户要求 |
|
|
安装形式 |
水平安装,自左向右或自右向左 |
|
|
指示器 |
现场就地瞬时流量指示 |
|
|
现场就地瞬时流量指示,带上下限位警报 |
||
|
远传型指示器,现场瞬时,累积流量指示,24V DC供电,二线制4-20mA输出,带 HART@通讯协议,本安防爆 |
||
|
远传型指示器,现场瞬时,累积流量指示,24V DC供电,二线制4-20mA输出,带HART@通讯协议,隔爆型 |
||
|
3.6V锂电池供电,现场液晶瞬时和累积流量显示,无信号输出 |
||
|
测量范围 |
下量程 |
1~10L/h水,0~0.7m3/h Air at ATP |
|
上量程 |
20~200m3/h水,400~4000m3/h Air at ATP |
|
|
介质温度 |
就地型 |
-40℃~+300℃ |
|
远传型 |
-20℃~+80℃ |
|
|
环境温度 |
就地型 |
-40℃~ 120℃ |
|
远传型 |
-20℃~ 70℃ |
|
|
精度 |
就地型 |
±1.5%,±2.0% ,±2.5% |
|
远传型 |
±1.0%,±1.5%,±2.0% ,±2.5% |
|
|
量程比 |
10:1 |
|
|
防护等级 |
IP65 IP67 |
|
|
防爆标志 |
ExiaⅡCT6本安防爆型;ExdⅡCT6 Gb隔爆型 |
|
|
电缆接口 |
本安型:M20×1.5 隔爆型:1/2”NPT |
|
|
公称压力 |
DN15-DN50 4.0Mpa |
|
|
DN80-DN200 1.6Mpa |
||
|
连接形式 |
法兰连接 标准HG/T20592-2009 |
|
|
附件 |
1磁过滤器 2直管段 |
|
