行业新闻
力扬沼气外燃火炬构造及运行原理解析
2020-06-08 11:16  浏览:40

日前,生态环境部、农业农村部联合印发(农业农村养殖场污染治理攻坚战行动计划),行动计划提出了着力解决养殖业污染和畜禽粪便资源利用后再生的环境污染问题,很多地区如四川、湖南、湖北、广东、广西等因为沼气池产生的沼气直接排放到空气中造成二次污染,为此国家推荐沼气火炬把多余沼气和不用的沼气直接燃烧掉,这样就解决了沼气污染环境的问题。

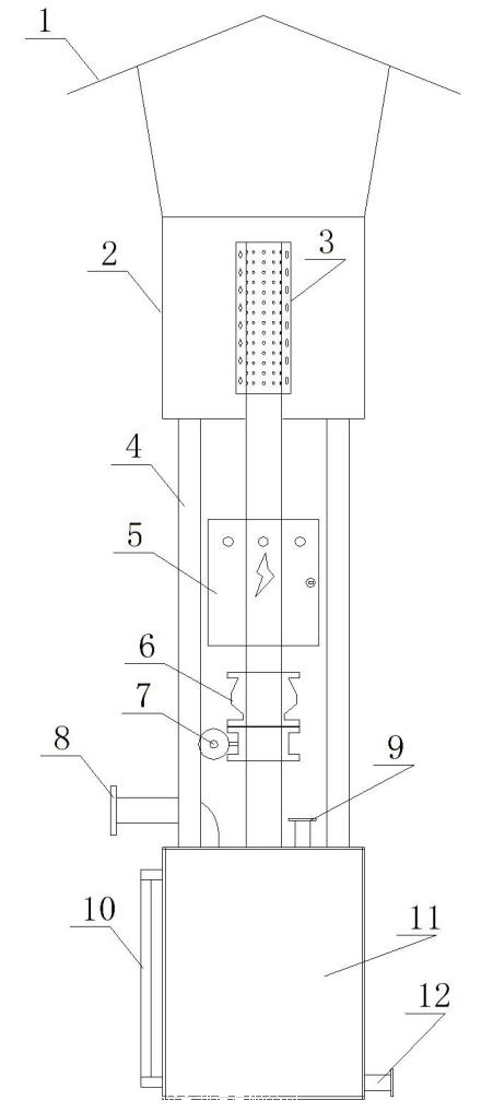
一.力扬外燃式沼气火炬的组成部分有:

1. 防雨帽

2. 燃烧室

3. 燃烧头

4.燃烧室支架

5.配电箱

6.阻火器

7.电动阀

8.进气

9.加水口                                            

10.液位计

11.缓冲室

12.放水口

 

 

二、力扬外燃沼气火炬的运行原理:沼气通过增压稳压系统进行增压稳压后通过主管道沼气直接进入沼气火炬,火炬本身自带水封器防止沼气回流阻火器防止回火起到双层保护作用,沼气顺着管道进入沼气燃烧室,沼气压力达到设备设定值后通过传感器传到点火电极引燃沼气,控制箱有自动,手动按钮可以根据客户现场情况设定。注说明:(1)、此沼气火炬结构是外燃式,防雨。故障熄火,火炬处于欠压保护状态。满足沼气燃烧条件时,火炬达到无人看守的情部下自动运行点火。

(2)、火炬压力自动检测:火焰控制系统在供气管路上安装有一套压力变送器,实现自动运行。1)当供气系统中压力达到设定时,火炬自动开机,实现自动点火、启动火炬燃烧。2)当供气系统中压力下降至低压值时,火炬自动停机。3、此沼气火炬不仅可以手动开机、停机,还实现了自动开机、停机。

三、沼气外燃火炬的材质和性能特点:

全套设备燃烧头机管道采用不锈钢304制造,其他部件采用碳钢防腐制作。

2、火炬特点:全自动控制,自动点火。熄火欠压保护,自动关机,无回火。

因为考虑到户外运行,火炬 系统设计防雨。外型美观大方、燃烧充分。

 

力扬电话:边经理18853701151(微信同号)  固定电话:0537-3252081

 QQ:2078788761 力扬售后服务保证:秉承用心做环保,用心做服务为宗旨,我公司产品一年保换(非人为因素)终身维修。

在满一年后,将常年提供售后维修服务。所有零配件均按照厂价成本供应。

 

地址:山东省济宁市任城区长沟工业园   济宁市力扬环保设备制造有限公司